Heat Treat Today offers News Chatter, a feature highlighting representative moves, transactions, and kudos from around the industry.
Personnel Chatter
- Isaiah Arnold joins Schneider Electric as a services sales engineer.
- Vacuum & Atmosphere Services Ltd. has new heads of departments: Aaron Long, head of Vacuum Products; Greg Walker, head of Atmosphere Products; Adam Greenway, head of Fabrications; and Mike Oldham, head of New Business.
- Hubbard-Hall Inc. has hired Jodie Menze as customer service manager. In this newly-made position, Menze will take a hands-on approach to enhancing the customer experience.
- Hubbard-Hall has transformed its Sales & Technical Departments and promoted several key staff: Larry Ensley, director of Technical Applications, is assuming company-wide responsibility for technical service teams and lab operations, overseeing ten technical experts. These individuals include Robin Deal and Faith Mierzejewski. Secondly, Mike Valenti is expanding his role as the director of Cleaning Technology. Lastly, Ted Saltzman, newly named Specialty Sales manager & Business Development, will direct the Specialty Sales group’s field account team and oversee the inside account management team. All three individuals will report to Scott Papst, vice president of Specialty Sales and Business Development.
Company Chatter
- Ramco Steels Pvt. Ltd. in India has installed its first SCADA-controlled quenching & tempering furnace in-house. Now, they offer spherodised annealing, normalising, isothermal annealing, through hardening and tempering, induction hardening/tempering, and soft carburising operations in-house.
- Service Heat Treating announced the completion of a multi-year plant expansion, expanding their space by 40,000 sq.ft. and adding heat treat capacity.
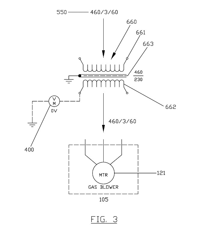
- Solar Manufacturing Inc., Sellersville, Pa. announced the receipt of U.S. Patent No. 11053560 issue date July 6, 2021.
- Kanthal launches a second generation flow heater control system, developed to assist customers to run the flow heater safely and efficiently.
- Advanced Heat Treat Corp. announced a new black oxide option which offers a darker black color oxidation than their original offering. The additional option will be available as a standalone black oxide treatment and as part of the UltraOx® heat treatment (referred to as UltraOx Hyper).
Kudos Chatter
- China’s Tiangong International Company Limited acquired a Quintus Technologies hot isostatic press (HIP).
- Bodycote Greenville is now certified by GE for the heat treatment of both titanium and aluminum.
- On SECO/WARWICK’s 30th Anniversary, they introduced a new website – www.secowarwick.com — and a new book — the DNA Book.
Heat Treat Today is pleased to join in the announcements of growth and achievement throughout the industry by highlighting them here on our News Chatter page. Please send any information you feel may be of interest to manufacturers with in-house heat treat departments especially in the aerospace, automotive, medical, and energy sectors to bethany@heattreattoday.com.














